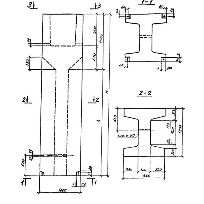
Блок-стакан верхний ВБ 9-10-33-3 предназначен для использования в строительстве железобетонных конструкций. Он обеспечивает надежное соединение элементов и обеспечивает устойчивость всей конструкции. Благодаря своей прочности и долговечности, этот блок-стакан идеально подходит для строительства зданий, мостов, туннелей и других сооружений.
                
        
        
        
                    
        
        
        
        
        
        
        
        
        
        
        
        
        
        
        
        
        
        
        
        
        
        
        
        
        
        
        
        
        
        
        
        
        
        
        
        
        
        
        
        
        
        
        
        
        
        
        
        
        
        
        
        
        
        
        
        
        
        
        
        
        
        
        
        
        
        
        
        
        
        
        
        
        
        
        
        
        
        
        
        
        
        
        
        
        
        
        
        
        
        
        
        
        
        
        
        
        
        
        
                        
                        
                        
                        
                    








